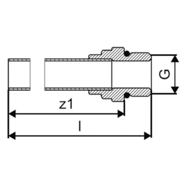
raccordo tubo
15X1MM - G1/2"MT
L=350
La preghiamo di accedere per visualizzare il prezzo.
Disp. per il ritiro a Bioggio: 0 PZ
Articolo n191267Numero articolo del produttore1015425
1 PZ = 0.171 kg
Descrizione del
- in tubo di rame rivestito
- tubo di rame 15 x 1 mm con filettatura autosigillante per il collegamento al radiatore
- adatto per tutti i supporti da parete a pressare e i dischi da parete a pressare con filettatura interna Rp½
- il collegamento al blocco valvole, al radiatore o al nipplo di collegamento del radiatore è possibile tramite un raccordo a compressione Cu con cono Euro
- tubo di rame 15 x 1 mm con filettatura autosigillante per il collegamento al radiatore
- adatto per tutti i supporti da parete a pressare e i dischi da parete a pressare con filettatura interna Rp½
- il collegamento al blocco valvole, al radiatore o al nipplo di collegamento del radiatore è possibile tramite un raccordo a compressione Cu con cono Euro
Capitolati
- Produttore
- Uponor
- Tipo
- G1/2"MT-15CU l=350mm
- G
- 1/2
- I
- 369 mm
- z1
- 356 mm