GF Uponor
RS Tee intermedio RS2-RS2-RS2
La preghiamo di accedere per visualizzare il prezzo.
Disp. per il ritiro a Bioggio: 0 PZ
Articolo n333598Numero articolo del produttore35001029142
1 PZ = 0.78 kg
Descrizione del
Modello:
• In ottone stagnato
• Elemento di base per tutti gli adattatori RS 2 o RS 3, compresi 3 elementi di bloccaggio
• In ottone stagnato
• Elemento di base per tutti gli adattatori RS 2 o RS 3, compresi 3 elementi di bloccaggio
Capitolati
- Produttore
- GF
- Sistema
- S-Press
- Tipo
- RS2
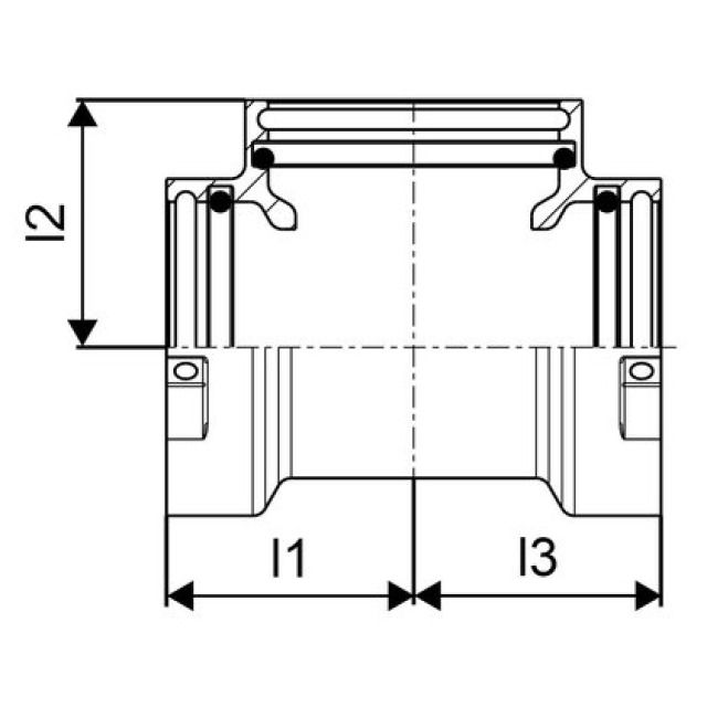
- l1
- 51 mm
- l2
- 51 mm
- l3
- 51 mm