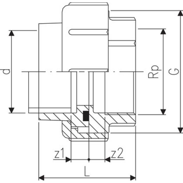
5037, Instaflex, Bocchettone femmina-filetto femmina

Compreso O-Ring EPDM, modello per acqua potabile
Produttore GF Sistema Instaflex
7 da 7
d
L
G
Rp
z1
z2