Geberit Mapress Super Size Curva con terminale maschio 15°

Proprietà
• Indicatore ottico di pressatura
• Perdita compromessa, se non pressato
• Guarnizione O-ring in CIIR nero
• Attacco a pressare con tappo di protezione trasparente
Dati tecnici
Materiale Acciaio CrNiMo 1.4401 (EN 10088)
Produttore Geberit Sistema Mapress
3 da 3
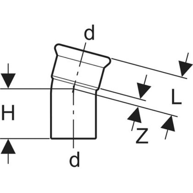
DN
H
L
Z