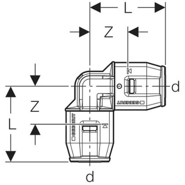
Geberit PushFit Gomito 90°

Proprietà
• Indicatore ottico verde
• O-ring in EPDM
• Connettore a spina con cappuccio di protezione trasparente
Produttore Geberit Sistema Pushfit
3 da 3
L
Z