GF Uponor RS Distanziatore

Modello:
• In ottone stagnato
• Adattatore distanziatore per collegare tra loro elementi di base della stessa dimensione, ad esempio
per creare cambi di direzione variabili
Produttore GF Sistema S-Press
2 da 2
Tipo
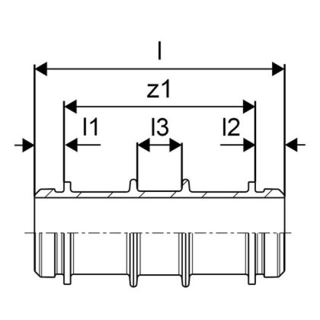
l
z1